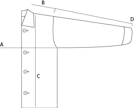
LEATHER OVERSHIRT - SIZE CHART

MEASUREMENTS IN CM

 

SIZE

46

48

50

52

54

 
 

A. CHEST (P2P):

B. SHOULDER TO SHOULDER:

C. LENGTH:

D. SLEEVE LENGTH:

58

48

70,5

64

60

49

72

65

62

50

73,5

66

64

51

75

67

66

52

76,5

68